| |
|
|
深圳市怡冠兴科技发展有限公司
联系人:袁桂根
手机:13632804287
微信:13632804287
QQ :1225609859
Skype: yuanguigen
E-mail: stevenyuanexport@163.com
地址:深圳市南山区南头街道红花路
|
|
|
|
静态扭矩传感器 0.5Nm 1Nm 2Nm 5Nm 10Nm 20Nm 50Nm 100Nm
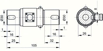
型号: YGX-TQ17A 静态扭矩传感器
特点和用途:
电阻应变为敏感元件和集成电路构成的一体产品,精度高,性能稳定可靠,测量范围广。
静态扭矩测量,两端均为键连接,安装使用方便。
扭矩传感器采用德国技术和生产设备及先进的检测设备。
量程: 0~0.5,1,2,5,10,20,50,100 Nm
外形尺寸(mm):

技术参数
|
输出灵敏度
|
1.0~2.0 mV/V
|
|
非线性
|
±0.1%F.S.
|
|
迟滞
|
±0.5%F.S.
|
|
重复性
|
±0.3%F.S.
|
|
工作温度
|
-35~+80℃
|
|
温度补偿范围
|
20~+60℃
|
|
零点温度影响
|
±0.1%F.S/10 ℃
|
|
激励电压
|
12 VDC
|
|
响应频率
|
100μS
|
|
绝缘电阻
|
2000 MΩ/100VDC
|
|
输入电阻
|
700±10/350±10Ω
|
|
输出电阻
|
700±5/350±5Ω
|
|
零点输出
|
0~±1%F.S
|
|
安全过载
|
120%F.S
|
|
材质
|
合金钢
|
|
接线方式
|
输入(电源+):1-红 输出信号+:2-黄
输出信号- : 3-白 输入(电源-):4-绿
|
|
|
|